Początkowo, czyli w sytuacji bez napięcia:
Następnie wskazanie siłomierza się zwiększyło:
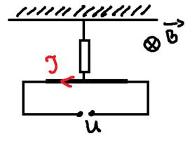
Wystąpiło dociążenie, zatem ze względu na zwrot wektora indukcji magnetycznej, prąd musi płynąć w lewo.
Ponadto siłą odciążająca jest siła elektrodynamiczna: